
Technical Parameters
Working Distance | 0-10 meters |
Optical Aperture | 22mm |
Wavelength | 658nm |
Laser Class | Class 2R |
Resolution | 0.1 urad |
Repeatability | 1 urad |
Drift | <1 urad(25°℃, 2h) |
Range (X, Y axis) | -3500~+3500 urad |
Display Error | Within any 300 urad: <5 urad;Within any 3000 urad: <15 urad |
Accuracy | <土5 urad(-1500~+1500 urad);<±15 urad (-3500~+3500 urad) |
Standard | JJG 202-2007, Level 3 of Photonic Autocollimator |
Sampling Rate | 10 Hz |
Charging Voltage | 5v |
Battery Working Time | 5hours |
Communication Method | WIFI |
System | Windows/Android |
Operating Temperature | 15~ 40 ℃ |
Analog Output | 0~2.5V Dual Channel |
Dimension | 51x310mm |
Weight | 1250g |
A self-collimating instrument is a metrology device that converts angular measurements into linear measurements using the principle of optical self-collimation. It is widely used for small-angle measurements, flatness measurements of plates, and straightness and parallelism measurements of rails, among other applications.
This instrument uses the principle of optical self-collimation to measure straightness. When the slit light source is positioned at the focal plane of the objective lens, the light will be refracted by the objective lens into parallel beams. These beams are then reflected back along the same path by a plane mirror perpendicular to the optical axis. If the plane mirror is tilted, the image formed after the reflected light beam is focused will deviate from the original position of the slit light source. By reading through the eyepiece, the small tilt angle of the mirror relative to the perpendicular plane of the optical axis can be measured.
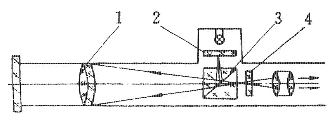
The internal structure is shown in the figure below:

Internal Structure Diagram of the Autocollimator
The laser light source in the diagram is released from two slits, reflected by three prisms, and then collimated through a lens for output. The collimated light is reflected back into the system by a distant mirror and imaged on a CCD. If the mirror is perfectly perpendicular to the beam, the imaging point on the CCD will appear at the center, indicating that the angle between the mirror and the beam is exactly 90°. If the imaging point on the CCD is slightly off-center, it indicates that the angle between the mirror and the beam deviates slightly from the perfect 90°.
This photonic autocollimator from Xiaoxiao Photonics adopts a brand-new design concept, with a compact size and excellent cost-performance ratio. It features an internal battery and wireless connection solution, which helps avoid interference from cable stress during measurements, while allowing users to easily view the results via a smartphone or tablet during setup.

External Interaction Diagram of the Device
It can measure the mirror flatness within 10 meters, with a range of ±3.5 mrad and an accuracy of no more than ±5 urad. After turning on the autocollimator and the matching flat hot spot, and starting the autocollimator app, wait for the autocollimator to connect automatically. Once the interface shows "connected," use a metal mirror to return the collimated output light along the same path, and you can monitor the verticality of the mirror in real-time.





